Radlager vorne
- WolfKoeln
- Beiträge: 28
- Registriert: Fr 26. Jul 2019, 16:42
- Roller: Revoluzzi 45Pro
- PLZ: 51145
- Wohnort: Porz
- Kontaktdaten:
Radlager vorne
Hallo Gemeinde, ein Radlager vorne fängt langsam an Geräusche zu machen.
Hat einer von euch die Bezeichnung von SKF zu Hand? Ist es ein 6020Z?
Danke für eure Hilfe
Wolfgang
Hat einer von euch die Bezeichnung von SKF zu Hand? Ist es ein 6020Z?
Danke für eure Hilfe
Wolfgang
-
DBuegel
- Beiträge: 569
- Registriert: Sa 8. Apr 2023, 09:21
- Roller: M1P
- PLZ: 04XXX
- Kontaktdaten:
Re: Radlager vorne
Die Bezeichnungen sind weltweit standardisiert und bei SKF genau so,
Du kannst auch 2Z oder rs oder 2RS nehmen.
https://www.kugellager-profis.de/masstabelle.html
Du kannst auch 2Z oder rs oder 2RS nehmen.
https://www.kugellager-profis.de/masstabelle.html
- conny-r
- Beiträge: 2517
- Registriert: Mo 29. Aug 2022, 09:21
- Roller: E-ECONELO DTR 35Ah
- PLZ: 36
- Kontaktdaten:
Re: Radlager vorne
.DBuegel hat geschrieben: ↑Do 3. Aug 2023, 10:28Die Bezeichnungen sind weltweit standardisiert und bei SKF genau so,
Du kannst auch 2Z oder rs oder 2RS nehmen.
https://www.kugellager-profis.de/masstabelle.html
Es gibt auch Tropensicher von SKF ... noch dichter gegen Wasser und Staub, würde ich auf jeden fall verwenden.
Habe so eines vor 30 Jahren in meine Handkreissäge eingebaut, hält lebenslänglich.
Gruß Conny
- rainer*
- Beiträge: 2039
- Registriert: So 19. Sep 2021, 19:06
- Roller: Supersoco TC Max
- PLZ: 06108
- Wohnort: Halle (Saale)
- Kontaktdaten:
Re: Radlager vorne
Beim 6020er Lager ist die Bohrung 100mm und der Außendurchmesser 150mm und die Lagerbreite 24mm. Das ist möglicherweise etwas zu groß.
Jedenfalls würde ich kein "Z"-Lager nehmen, sondern wie die Vorredner angedeutet haben eher eins mit "RS". Dann sind die seitlich nicht mit einem Blechdeckel sondern mit einem dichteren Kunststoffdeckel geschlossen und damit etwas besser abgedichtet.
Jedenfalls würde ich kein "Z"-Lager nehmen, sondern wie die Vorredner angedeutet haben eher eins mit "RS". Dann sind die seitlich nicht mit einem Blechdeckel sondern mit einem dichteren Kunststoffdeckel geschlossen und damit etwas besser abgedichtet.
- E-Bik Andi
- Beiträge: 2043
- Registriert: Mo 3. Jul 2023, 13:32
- Roller: EH Line Umbau, Econelo DTR
- PLZ: 72
- Kontaktdaten:
Re: Radlager vorne
Ich verwende seid Jahrzehnten nur RS-Lager in dem Bereich. Dann ist Schluss mit Feuchtigkeit 
Liebe Grüße
Andi
Andi
- conny-r
- Beiträge: 2517
- Registriert: Mo 29. Aug 2022, 09:21
- Roller: E-ECONELO DTR 35Ah
- PLZ: 36
- Kontaktdaten:
Re: Radlager vorne
.rainer* hat geschrieben: ↑Do 3. Aug 2023, 11:57Beim 6020er Lager ist die Bohrung 100mm und der Außendurchmesser 150mm und die Lagerbreite 24mm. Das ist möglicherweise etwas zu groß.
Jedenfalls würde ich kein "Z"-Lager nehmen, sondern wie die Vorredner angedeutet haben eher eins mit "RS". Dann sind die seitlich
nicht mit einem Blechdeckel sondern mit einem dichteren Kunststoffdeckel geschlossen und damit etwas besser abgedichtet.
Bei SK ist es ein Simmerring!
Gruß Conny
- rainer*
- Beiträge: 2039
- Registriert: So 19. Sep 2021, 19:06
- Roller: Supersoco TC Max
- PLZ: 06108
- Wohnort: Halle (Saale)
- Kontaktdaten:
Re: Radlager vorne
Nein, ist es nicht. Auch bei SKF entsprechen die Lager der Norm. Wenn ein Blech drauf ist (Z bzw. ZZ) ist es eine Spaltdichtung, Die hat gegenüber der Kunststoffdichtung die Vorteile, weniger bzw. keine Reibung zu haben und besser temperaturbeständig zu sein. Mehr nicht. Auch bei SKF bietet der seitliche Kunststoffdeckel mehr Schutz vor Dreck und Schmutz als die ZZ-Ausführung. Dafür dreht sich das Lager geringfügig schwerer, weil die Dichtung eben ein kleines bisschen schleift.
Ein Simmerring oder Wellendichtring wird normalerweise zusätzlich zum Lager verbaut.
Ein Simmerring oder Wellendichtring wird normalerweise zusätzlich zum Lager verbaut.
- WolfKoeln
- Beiträge: 28
- Registriert: Fr 26. Jul 2019, 16:42
- Roller: Revoluzzi 45Pro
- PLZ: 51145
- Wohnort: Porz
- Kontaktdaten:
Re: Radlager vorne
Zuerst einmal herzlichen Dank für die Hinweise.
Leider ist nicht dabei welche Bezeichnung das richtige Lager haben muss.
Im eingebauten Zustand ist messen schwierig , könnte Außendurchmesser 28mm sein.
Da gibt es aber in der Tabelle nichts.6200 RS ist 30mm
Für die richtige Bezeichnung wäre ich sehr dankbar
Grüße aus Köln
Wolfgang
Leider ist nicht dabei welche Bezeichnung das richtige Lager haben muss.
Im eingebauten Zustand ist messen schwierig , könnte Außendurchmesser 28mm sein.
Da gibt es aber in der Tabelle nichts.6200 RS ist 30mm
Für die richtige Bezeichnung wäre ich sehr dankbar
Grüße aus Köln
Wolfgang
-
DBuegel
- Beiträge: 569
- Registriert: Sa 8. Apr 2023, 09:21
- Roller: M1P
- PLZ: 04XXX
- Kontaktdaten:
Re: Radlager vorne
Dann miss dden Durchmesser der Achse.

Hier die Masse 6200 Das RS bedeutet einseitig abgedichtet.
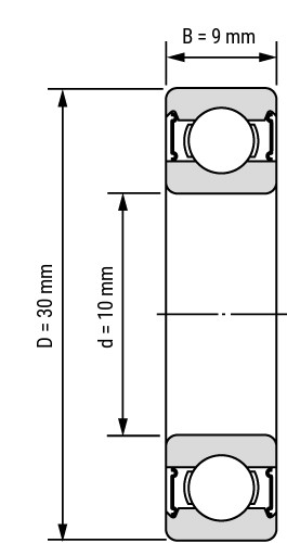
6000 währe außen 10 x 26 x 8
- conny-r
- Beiträge: 2517
- Registriert: Mo 29. Aug 2022, 09:21
- Roller: E-ECONELO DTR 35Ah
- PLZ: 36
- Kontaktdaten:
Re: Radlager vorne
.rainer* hat geschrieben: ↑Do 3. Aug 2023, 14:58Nein, ist es nicht. Auch bei SKF entsprechen die Lager der Norm. Wenn ein Blech drauf ist (Z bzw. ZZ) ist es eine Spaltdichtung, Die hat gegenüber der Kunststoffdichtung die Vorteile, weniger bzw. keine Reibung zu haben und besser temperaturbeständig zu sein. Mehr nicht. Auch bei SKF bietet der seitliche Kunststoffdeckel mehr Schutz vor Dreck und Schmutz als die ZZ-Ausführung. Dafür dreht sich das Lager geringfügig schwerer, weil die Dichtung eben ein kleines bisschen schleift.
Ein Simmerring oder Wellendichtring wird normalerweise zusätzlich zum Lager verbaut.
Bei Tropentauglich ist es genau wie mit einem Simmering, damit wir uns nicht falsch verstehen, nicht einfach eine Scheibe.
-------------
Das Lager muß mindestens Wasserbeständig sein.
Gruß Conny
Wer ist online?
Mitglieder in diesem Forum: 0 Mitglieder und 10 Gäste